新闻动态
NEWS CENTER
相关新闻
别说十四香,王守义都已经从“十一香”注册到了“三十九香”了
发布时间:
2022-09-13
9月8日凌晨,苹果召开秋季新品发布会,发布了iPhone14系列配色及售价。据了解,iPhone 14、iPhone 14 Pro及14 Pro Max三款机型起售价与前一代相同。 去年iPhone13发布后,王守义十三香也跟着火了。在王守义专卖店铺里,很多网友问,十三到底香不香。“十四香还是十三香?” 天眼查App显示,“十四香”商标已被驻马店市王守义十三香调味品集团有限公司成功注册,其申请时间为2002年,国际分类为方便食品。
9月8日凌晨,苹果召开秋季新品发布会,发布了iPhone14系列配色及售价。据了解,iPhone 14、iPhone 14 Pro及14 Pro Max三款机型起售价与前一代相同。
去年iPhone13发布后,王守义十三香也跟着火了。在王守义专卖店铺里,很多网友问,十三到底香不香。“十四香还是十三香?”另外在商标局官网查询王守义甚至从“十一香”注册到了“三十九香”,被网友戏称“以此狙击苹果的iPhone系列”。

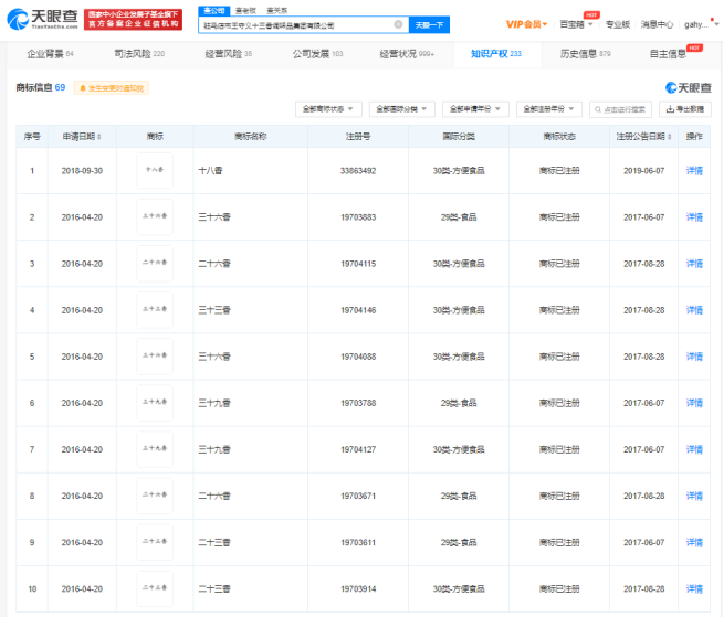
据天眼查App显示,“十四香”商标已被驻马店市王守义十三香调味品集团有限公司成功注册,其申请时间为2002年,国际分类为方便食品。截至目前,王守义公司已成功注册“十二香”至“十八香”商标,以及“二十三香”“二十六香”“三十六香”“三十九香”商标,国际分类多为方便食品、食品。王守义注册十四香究竟是怎么一回事,跟随深可信一起看看吧。


王守义十三香通过商标布局,不仅为企业长远发展留下空间,还维护了企业品牌形象、提升品牌认知度。另外注册防御商标更好避免了出现一些与其近似的商标,对自己的品牌进行了保护。

事实上,不只是王守义,阿里巴巴、小米、老干妈等不少企业都注册了一大堆防御性商标。
比如阿里巴巴,注册了“阿里妈妈”“阿里叔叔”“阿里爷爷”“阿里奶奶”等,活生生一商标版的“阿里家族”。
小米更有意思,注册了“大米”“红米”“蓝米”“黑米”“紫米”“橙米”“绿米”“黄米”“桔米”等商标,以至于有网友评论道,“雷布斯是想集齐七色米召唤神龙吗?”
老干妈也不甘落后,“老干爹”“老干娘”“老干爸”“干儿子”“干女儿”“老姨妈”……可谓是“七大姑八大姨”都被注册了个遍。
五粮液注册了“六粮液”“七粮液”“八粮液”等商标;京东更是将创始人刘强东的名字拆分,分别进行商标注册保护……
专业知识分享
什么是防御性商标注册?
所谓防御性商标注册,即注册与使用相同或相似的一系列商标。具体地说就是注册一系列文字、读音、图案相同或相似的商标,保护正在使用的商标或以后备用。
防御性商标注册的另一种方法就是同一商标运用于完全不同种类的产品或不同行业,防止他人在不同产品或产业上使用。因为同一商标使用的商品类别有一定限制,产品跨行业、跨种类时,就必须分别注册。
深可信提醒:如果您的产品和商标出了名,就应及时采取防御策略,补充注册一些相似的商标,补充注册已出名产品商标的应用范围,防止被其它企业搭便车或抢注你的商标。建议请专业的代理机构深圳深可信办理,因为相关的文件涉及到专业和法律层面的东西,专业的人做专业的事情。
哪些证据不被视为《商标法》意义上的商标使用?
仅提交下列证据,不被视为《商标法》意义上的商标使用:
1.商品销售合同或提供服务的协议、合同;
2.书面证言;
3.难以识别是否经过修改的物证、视听资料、网站信息等;
4.实物与复制品。
更多知产资讯与服务
码上关注【深可信知识产权】官方订阅号

码上关注【深可信知识产权服务平台】官方服务号

相关新闻
总 部:深圳市龙华区观澜街道高尔夫大道8号龙华科技创新中心(观澜湖)14栋13楼
总 部:
深圳市龙华区观澜街道高尔夫大道8号龙华科技创新中心(观澜湖)14栋13楼
分公司:湖北省武汉市江岸区塔子湖东路18号越秀星汇君泊B2座2808
分公司:
湖北省武汉市江岸区塔子湖东路18号越秀星汇君泊B2座2808
服务号
订阅号
Copyright ©2016 深圳市深可信专利代理有限公司 版权所有 | 粤ICP备2021174526号
Copyright ©2016 深圳市深可信专利代理有限公司 版权所有 | 粤ICP备2021174526号 SEO标签
Copyright ©2016 深圳市深可信专利代理有限公司 版权所有
