新闻动态
NEWS CENTER
相关新闻
比亚迪注册“可乐”商标 王朝、海洋系列之外的饮料系列?
发布时间:
2022-09-08
比亚迪汽车命名颇具思路 早在2012年推出了“王朝系列”车型,目前已经推出秦、唐、宋、元、汉系列车型。不过,比亚迪申请的王朝系列商标并不止于此,比如夏、商、周、赵、楚、齐、晋、明、清、魏等均已进行了布局。 另外,比亚迪还布局了海豹、海豚等海洋生物系列车型,驱逐舰、护卫舰等军舰系列车型,车型命名的新奇程度比长城汽车不遑多让。 但似乎这也不是比亚迪的终点。网上信息显示,比亚迪股份有限公司新申请注册“可乐”商标,国际分类为运输工具,目前商标状态为等待实质审查。
作为新能源汽车的领头羊,比亚迪近两年的发展势头可以用迅猛来形容,旗下的海洋网、王朝网两大车系以及军舰等众多系列车型,也让其拥有了丰富的产品线。不过,比亚迪又开启了新的商标申请,新的商标名字让人意外不已。

比亚迪汽车命名颇具思路
早在2012年推出了“王朝系列”车型,目前已经推出秦、唐、宋、元、汉系列车型。不过,比亚迪申请的王朝系列商标并不止于此,比如夏、商、周、赵、楚、齐、晋、明、清、魏等均已进行了布局。
另外,比亚迪还布局了海豹、海豚等海洋生物系列车型,驱逐舰、护卫舰等军舰系列车型,车型命名的新奇程度比长城汽车不遑多让。
但似乎这也不是比亚迪的终点。网上信息显示,比亚迪股份有限公司新申请注册“可乐”商标,国际分类为运输工具,目前商标状态为等待实质审查。
据了解,运输工具这一分类下的产品包括汽车、大客车、卡车、公共汽车、叉车、汽车车身、汽车底盘、陆地车辆用电动机、摩托车、汽车刹车片等,这表明,这一新的商标可能会运用在比亚迪旗下未来的新款车型上。

除了“可乐”外,比亚迪股份有限公司还申请注册了“可可”“海鸥”“暴龙”“无畏龙”等商标。国际分类均为运输工具。
有网友表示,比亚迪申请的这些新商标,可能是出于为未来旗下更丰富的产品线提前准备名字。不过“可乐”这一商标名,或许是为了对标同为自主品牌长城汽车的“咖啡”车型,
不过就目前看来,比亚迪的新车主要还是以王朝系列和“海洋系”产品为主,这些新的商标申请并不一定会使用在未来的比亚迪新车上。
此前,根据比亚迪汽车品牌及公关事业部总经理李云飞的透露,比亚迪将推出定价高达百万之巨的高端品牌,首款车型为硬派越野车,并将于明年上半年正式上市。
商标布局完善 销量激增
比亚迪或将进军高端市场
就在近日,比亚迪发布了8月份的销量报告。数据显示,其8月新能源汽车销量17.49万辆,而今年前8个月累计销量97.88万辆,同比增长267.31%。财报方面,比亚迪发布的公告显示,其在2022年上半年实现营收1506.07亿元,同比增长65.71%。据悉,比亚迪2022年第100万台乘用车也正式出货。

8个月时间出货100万台,而且绝大部分是新能源,预计比亚迪将成为全球首家年销百万辆新能源车的车企,这样傲人的成绩属实瞩目。而这一切的基础就是比亚迪对于自己品牌的商标布局。
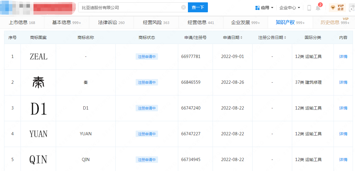
据查询,比亚迪股份有限公司旗下共有2300件商标信息,“王朝系列”“海洋系列”以及现在申请的“另类系列”,无一不体现出比亚迪对于商标的重视程度。基于此,比亚迪才能更好地放开手脚,将企业带到更高的高度。

比亚迪旗下几乎所有车型,都成为了爆款,“王朝系列”“海洋系列”更是成了追捧的对象,正因为在市场上取得的巨大成功,也催生了比亚迪想要进军高端市场的决心。

比亚迪将推出“星空”品牌,该品牌首款车型是一台采用非承载式车身的硬派SUV,对标奔驰G级。该车辆具备高性能的同时,轮胎还可实现反转,可完成奔驰EQG的“坦克掉头”操作。
据公开消息显示,星空品牌首款车型将具备纯电、插电式混动两种动力形式,价格或将定档50-100万元,有望于2022年下半年亮相,并于2023年上市。
比亚迪将新品牌定价为百万级的自信心源自何处?今年7月,比亚迪的销量达到16.25万辆,比哪吒、零跑等一众新势力的交付量总和还要高。整个上半年,比亚迪旗下新能源车累计销量达到64万辆,超越特斯拉成为全球销冠。
而比亚迪将要推出的硬派越野,也是一个忠诚度很高的细分市场,并且新能源越野车还是一个蓝海市场。这可能是比亚迪选择在这个领域内打造高端品牌的原因,也是将大G作为“假想敌”的主要因素。
显然,停产燃油车,切断退路后的比亚迪变得更加无敌,但是比亚迪的“焦虑”却并没有减少。
商标注册慢一步
商标转让、互换或许能挽救
2021年,特斯拉全球销量为93.6万辆,净利润约为371.32亿元,同年,比亚迪卖了73万辆,全年利润却仅仅只有30.45亿元,一辆车才赚4171元,仅为特斯拉的十分之一。除了原材料采购成本之外,“高端化”标签也是比亚迪更进一步的掣肘,这大概率也是比亚迪瞄上“高端”的一个原因,但这块“蛋糕”不那么好吃。
根据以往国产品牌冲击高端案例来看,吉利的领克、长城的魏牌以及奇瑞的星途,发展过程中不是很顺利。而除了以上难题,比亚迪的新品牌还面临着一个更大的麻烦。
以“技术为王,创新为本”为发展理念的比亚迪,在知识产权方面肯定是不容小觑的。据查询,比亚迪旗下共有22251件专利信息,以及2300件商标信息,其对于自己的核心技术和重点品牌都做好了相关的知产布局,不过可惜的是,新品牌“星空”注册脚步慢了一步。
“星空”的相关商标信息共有60258件,其中与比亚迪相关的第12类-运输工具上的“星空”商标,已经被广汽本田成功注册,而广汽本田是通过转让的途径成功拿下的。
如果比亚迪不想产品还未上市,就遭遇更名的窘境,就要及时提出无效宣告请求,或者同广汽本田商议,看看是否可以通过转让的方式拿下商标。毕竟此前发生了比亚迪与长城互换商标的佳话,比亚迪将“魏”商标赠与长城,长城将“登陆舰”商标转让给比亚迪。
可以说,众汽车企业在商标布局方面掌握了一套完善的命名方案,无论是提前注册的防御商标还是有意命名相关产品,这些全系列的商标布局动作都体现了车企完善的商标布局意识!
品牌运营离不开商标的守护!商标作为企业发展的根基,企业经营者一定要重视商标保护,从长远考虑,全面完善商标布局。(来源:综合阿尔法工厂、腾讯网、老于说车)
更多知产资讯与服务
码上关注【深可信知识产权】官方订阅号

码上关注【深可信知识产权服务平台】官方服务号

相关新闻
总 部:深圳市龙华区观澜街道高尔夫大道8号龙华科技创新中心(观澜湖)14栋13楼
总 部:
深圳市龙华区观澜街道高尔夫大道8号龙华科技创新中心(观澜湖)14栋13楼
分公司:湖北省武汉市江岸区塔子湖东路18号越秀星汇君泊B2座2808
分公司:
湖北省武汉市江岸区塔子湖东路18号越秀星汇君泊B2座2808
服务号
订阅号
Copyright ©2016 深圳市深可信专利代理有限公司 版权所有 | 粤ICP备2021174526号
Copyright ©2016 深圳市深可信专利代理有限公司 版权所有 | 粤ICP备2021174526号 SEO标签
Copyright ©2016 深圳市深可信专利代理有限公司 版权所有
