《哪吒2》票房冠军!上百个角色申请专利+登记著作权,电影未映知识产权布局先行!
最近想必大家都被哪吒刷屏了吧!截至2月7日10时,《哪吒之魔童闹海》累计票房破62.52亿元,含预售已达到63亿元,位列中国电影票房总榜榜首

4年前,在《哪吒之魔童降世》影片上映之初,出品方或许并未充分预料到这部电影会取得如此惊人的成绩,所以一开始并没有及时进行商标注册相关事宜。直到影片上映十几天后,出品方北京光线影业有限公司才向商标局提交了多达1000多个与《哪吒》相关的商标注册申请!有了《哪吒之魔童降世》匆忙注册商标的前车之鉴,这次对于即将上映的《哪吒之魔童闹海》,出品方北京光线影业公司明显有了提前规划的意识,早早地就开启了商标注册行动。这是一场关于知识产权的保卫战!制作方通过为上百个角色申请专利和登记著作权,从2022年就开始为登顶之路铺砖添瓦,确保了这一IP的长远发展!

1、著作权登记
(1)角色形象著作权
《哪吒2》的制片方深知角色形象对于一部动画电影的重要性,因此,在影片制作过程中,就对上百个角色进行了全面细致的著作权登记。

无论是主角哪吒与敖丙,还是配角如帅爹敖光、妩媚的敖闰,甚至是影片中呆萌无害的土拨鼠,都进行了著作权登记。此外,石矶娘娘、无量仙尊等角色及其变形形态,也都纳入了著作权保护的范围。

(2)剧本文字版权

除了角色形象,影片的剧本也进行了文字版权登记。这一举措确保了影片的故事情节、对话等文字内容的原创性,为制片方在维权时提供了有力的法律支持。
(3)细节元素保护
制片方还特别关注了影片中一些细节元素的著作权保护,如石矶娘娘的魔镜等道具,也进行了专门的著作权登记。
虽然这些角色、内容、音乐设计在创作完成时,就自动享有著作权;但是电影的出品方还是为这些原创作品申请登记超百件著作权。这也是为以后打击模仿、抄袭,维权提供方便。这种细致入微的保护策略,进一步巩固了《哪吒2》的知识产权壁垒。
2、专利申请
面对市场上可能出现的以电影角色为原型的周边产品,制片方采取了积极的专利申请策略。
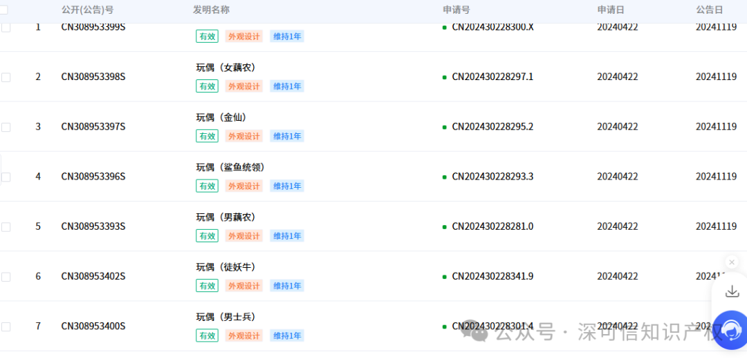
目前,成都可可豆动画与成都自在境界文化两家出品公司,已经成功公开了多项与电影角色玩偶设计相关的外观专利。这些专利涵盖了多个深受观众喜爱的角色,如玉虚宫捕妖队的成员、嘲笑哪吒的小道士等。有效防止了未经授权的周边产品制作与销售行为。这些角色的外观专利在2024年4月22日正式提交申请,并在同年年底成功获得了授权公告。

除了上述角色外,还有为哪吒、敖丙重塑肉身的藕农、申正道的徒弟小妖怪、以及在电影中短暂亮相的十二金仙之一道行天尊等角色,也获得了相应的外观专利。这些专利的获得,标志着制片方已经对这些角色的玩偶设计进行了全方位的法律保护,有效防止了未经授权的周边产品制作与销售行为。全面的专利保护策略,对于提升市场竞争力有重要意义。

3、商标注册
提前布局,全面商标注册!《哪吒2》的出品方对影片的相关元素进行了全面的商标注册工作,包括影片名称、角色名称、衍生品牌等。这些申请涵盖了多个国际分类,如教育娱乐、餐饮住宿、广告销售等关键领域,确保了影片品牌在各个领域的全面保护。
光线影业早在2022年8月就开始申请注册“魔童闹海”商标,为电影的上映和后续推广做好了前期准备。

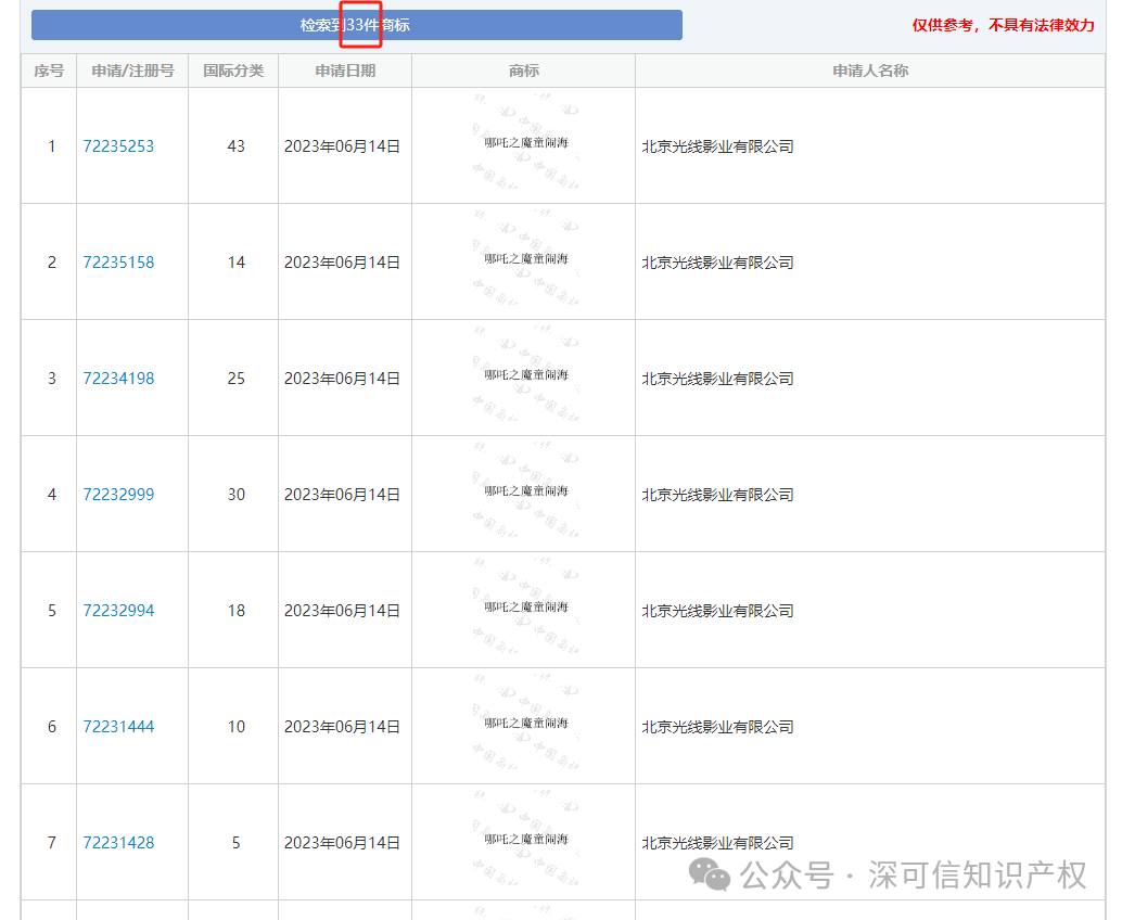
2023年6月,更是在多个国际分类上大量申请注册了“哪吒之魔童闹海”商标,显示了制片方在知识产权保护方面的前瞻性和全面性。

对于影视行业来说,提前布局商标的重要性不言而喻。随着影视作品的热播,IP衍生品市场也愈发繁荣。《哪吒2》的成功不仅是对中国动漫产业的巨大鼓舞,更是对知识产权保护重要性的生动诠释。
总的来说,影视IP的商标布局是保护创意作品的关键一环。提前布局商标、全面考虑类别、结合IP衍生品开发有利于避免侵权纠纷,提升维权效果,同时还有助于最大化IP商业价值。

相关案例
总 部:深圳市龙华区观澜街道高尔夫大道8号龙华科技创新中心(观澜湖)14栋13楼
总 部:
深圳市龙华区观澜街道高尔夫大道8号龙华科技创新中心(观澜湖)14栋13楼
分公司:湖北省武汉市江岸区塔子湖东路18号越秀星汇君泊B2座2808
分公司:
湖北省武汉市江岸区塔子湖东路18号越秀星汇君泊B2座2808
服务号
订阅号
Copyright ©2016 深圳市深可信专利代理有限公司 版权所有 | 粤ICP备2021174526号
Copyright ©2016 深圳市深可信专利代理有限公司 版权所有 | 粤ICP备2021174526号 SEO标签
Copyright ©2016 深圳市深可信专利代理有限公司 版权所有
