新闻动态
NEWS CENTER
相关新闻
申请肖像商标,这些你要注意了!
发布时间:
2022-08-03
在日常生活中,我们也会看到一些使用肖像作为商标的品牌,比如肯德基的白胡子爷爷、老干妈的创始人陶华碧女士以及调味品十三香上面的王守义……都是属于肖像商标。
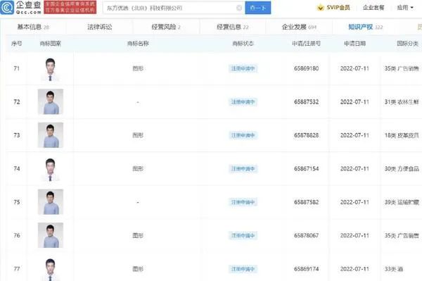
今年 6 月,凭借 “双语带货”新型直播方式,新东方在线旗下直播平台东方甄选主播董宇辉火爆网络,粉丝量和直播间总销量激增。
企查查 APP 显示,近日,东方优选(北京)科技有限公司申请注册多个东方臻选直播间主播肖像商标,包括 " 董宇辉、孙佳琦、孙楚涵 " 等人肖像。据悉,这些商标的国际分类包含教育娱乐、广告销售、农林生鲜、办公用品等,目前商标进度为:注册申请中。

肖像商标是指申请人将个人或他人肖像当作图形要素申请注册的商标,是图形商标的一种。在日常生活中,我们也会看到一些使用肖像作为商标的品牌,比如肯德基的白胡子爷爷、老干妈的创始人陶华碧女士以及调味品十三香上面的王守义……都是属于肖像商标。

肖像商标有别于传统的文字商标,但比普通商标更具有显著性和亲和力,更容易被消费者接受和牢记。那么在以肖像申请商标时需要注意哪些问题呢?
1、将自己的肖像作为商标图样进行注册申请,应当予以说明。
2、将他人的肖像作为商标图样进行注册的,应该予以说明,同时需要附送肖像权人的授权声明书,声明书中应包括(肖像权人的姓名以及身份证号,被授权人名称以及授权事项,肖像权人签字及签署日期),此外还需附送肖像权人身份证复印件。
3、肖像人已死亡的,应附送申请人有权处置该肖像的证明文件,证明文件应包括作为商标图形申请的肖像人肖像。
4、未经许可将他人肖像申请注册商标的,肖像权人有权自商标注册之日起五年内对此商标提起无效宣告。
5、若商标图样中的人物图形并非真实人物肖像,应当在商标说明中予以说明。
6、伟人肖像、历史人物、宗教形象,特定指向的服饰帽子等应规避,容易产生不良社会影响,有害于社会道德风尚或者带有民族歧视。
整体而言,肖像商标申请的成功率还是比文字/图形商标要高,具有一定优势。

企业的发展离不开商标。好的商标能让人记忆深刻。目前,越来越多的商标因近似或缺乏显著性而被驳回,因此,当文字等商标注册容易导致商标被驳回情况下,选择肖像作为商标也不失为注册商标的一种新途径。(来源:金名标)
更多知产资讯与服务
码上关注【深圳深可信】官方订阅号

码上关注【深可信服务平台】官方服务号

相关新闻
总 部:深圳市龙华区观澜街道高尔夫大道8号龙华科技创新中心(观澜湖)14栋13楼
总 部:
深圳市龙华区观澜街道高尔夫大道8号龙华科技创新中心(观澜湖)14栋13楼
分公司:湖北省武汉市江岸区塔子湖东路18号越秀星汇君泊B2座2808
分公司:
湖北省武汉市江岸区塔子湖东路18号越秀星汇君泊B2座2808
服务号
订阅号
Copyright ©2016 深圳市深可信专利代理有限公司 版权所有 | 粤ICP备2021174526号
Copyright ©2016 深圳市深可信专利代理有限公司 版权所有 | 粤ICP备2021174526号 SEO标签
Copyright ©2016 深圳市深可信专利代理有限公司 版权所有
